Câu 34:
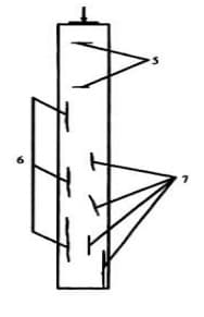
Cột bê tông cốt thép toàn khối xuất hiện các vết nứt được đánh số thứ tự như hình dưới đây:
Kết luận có thể có các nguyên nhân gây ra vết nứt số 7 như sau:
1
Câu 34:
Cột bê tông cốt thép toàn khối xuất hiện các vết nứt được đánh số thứ tự như hình dưới đây:
Kết luận có thể có các nguyên nhân gây ra vết nứt số 7 như sau:

Thông tin câu hỏi
Format:
Trắc nghiệm 1 đáp án
Độ khó:
Trung bình
Môn:chung-chi-hanh-nghe-xay-dung
Cấp độ:dai-hoc
Mã đề:dai-hoc-chung-chi-hanh-nghe-xay-dung
Phần:chứng_chỉ_hành_nghề_xây_dựng
lượt làm
Năm:2026
Tags:
#chứng chỉ hành nghề xây dựng
